19821311892 13386202197

产品热线:
19821311892
热湿交换过滤器压降测量仪
CSI-Z154
上海程斯
产品介绍
热湿交换过滤器压降测量仪
一,产品概述:
采用可编程控制器,触摸屏,压力传感器,加压装置,机载打印机等组成,中英文菜单显示,人机对话设定各项参数自动运行测试。生产单位,批次可任意输入,操作方便。
并采用三级密码,信息安全可靠。产品规格、测试压力值设定、保持时间设定,打印设定、测试、加压、减压、时间、,等。机载打印测试数据。实时显示测试加压值,保持时间等数据。并由打印机打印出测试数据及结果。适用于输液器、输血器、输液针、麻醉包过滤器、管路、导管、快速接头等。
二,测试标准
HME热湿交换器主要用《YYT 0735.1-2009 麻醉和呼吸设备湿化人体呼吸气体的热湿交换器(HME)
三,技术参数
控制系统:PLC;
操作界面:简体中文/英文,彩色7寸触摸屏,中英文切换;
压力输出范围:0kPa~100 kPa(可根据客户要求定制范围),可任意设定压力输出值,误差不大于读数的±1%。
测试持续时间:0.1秒~99.9分,误差不大于±0.1S。
产品净重:30kg
外形尺寸:1000×480×450(mm);
电源:AC90V-240V/50Hz(自适应宽电压)
整机功率:70W;
可编程控制器:PLC+ARM
触摸屏:7寸K600+内核/点阵式65色800*480分辨率
流量传感器:高精度传感器0-150L/min;
压差传感器:0-10V输出,负1kpa-1Kpa;
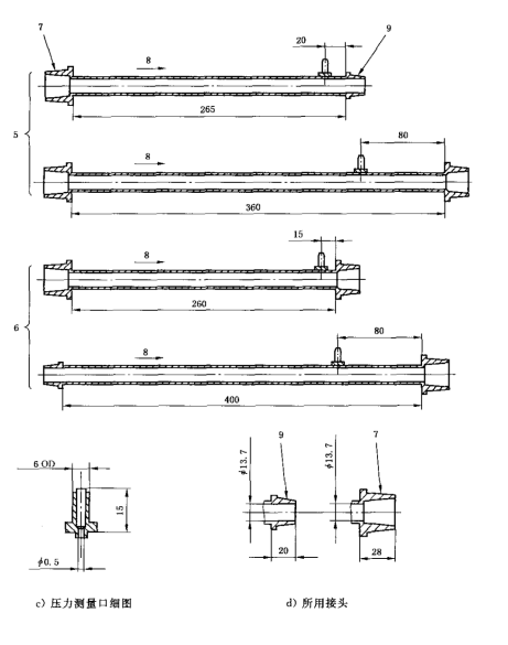
使用管路:15mm(外径)X13.7mm(内径)的无缝铜管;
四,配置清单
鲁尔接头2个
测压机构:内置
打印机:嵌入式微型打印机热敏
五,压降试验步骤
1在HME两侧连接压差计并连接流量计。
2在标准要求规定流量下,用干燥医用空气或氧气测定流过HME初5 s内的压差。气体温度应为 23℃土2℃。
3取下HME,将两个试验管路对接,再测量同样流速下的压降。测得的结果减去该值,得值即为HME产生的压降。

厂家直发 技术支持
购物保障 终生维护
一年内出现质量问题免费维修
客服微信二维码
版权所有 © 上海程斯智能科技 沪ICP备19009154号-13